隨著我國工業化進程的加快,采礦、 冶煉、 金屬加工、 電鍍、 電子等工業廢水大量產生,影響生態環境危害人體健康. 銅離子是工業廢水中普遍存在的重金屬污染源,以單質或各種礦物形式存在. 除了采礦,熱交換以及其他工業用途都可以把銅排入水體中. 銅是人體必需微量元素之一,對于造血、 細胞生長、 某些酶的活性及內分泌腺功能均有重要作用. 但體內過多的銅會引起貧血、 肝臟病理性改變及神經系統損傷,導致腎衰、 肝硬化、 老年癡呆和帕金森病等[1,2]. 在我國,含銅廢水必需經過處理至少達到污水排放三級標準[3]時才能排放. 目前,處理含Cu2+廢水的傳統方法主要有化學沉淀、 離子交換、 反滲透、 氧化還原、 活性炭吸附等,這些方法在處理低濃度重金屬廢水時具有費用高、 能耗大、 操作繁瑣、 易造成二次污染,不適于低濃度含銅廢水的處理[4,5].
生物吸附法就是利用某些生物體本身的化學結構及成分特性來吸附溶于水中的金屬離子,再通過固液兩相分離來去除水溶液中金屬離子的方法[6]. 生物吸附法具有低成本、 高效率、 無污染、 可回收再利用等優勢,尤其適用于1~100 mg ·L-1重金屬廢水的處理[7]. 近年來,利用農業和食品工業廢棄物,如橘皮、 木屑、 稻殼、 廢棄菌體等作為生物吸附劑,去除廢水重金屬的研究備受關注[8, 9, 10].
中國是食用菌生產大國,2012年全國食用菌生產總量約為3100萬t,菌糠總量約為800萬t,其中黑龍江省在2010年就已成為國內食用菌產量最高的地區,每年會產生大量的菌糠廢棄物. 菌糠除少數用于還田和栽培基質外,絕大多數被廢棄或就地燃燒,既浪費了資源又污染了環境[11]. 食用菌菌糠主要成分為纖維素、 半纖維素、 木質素、 菌絲體及經菌絲體生物轉化過程中產生的糖類、 有機酸和生物活性物質,其表面豐富的羥基、 羰基、 羧基、 酰胺基、 磷酸基等可以螯合廢水中的金屬陽離子. 國內外已有大量關于農業廢棄物或菌絲體吸附重金屬離子的報道,且吸附效果明顯[12, 13, 14]. 但大多數報道中的銅離子濃度在每升幾十毫克到幾百毫克之間,10 mg ·L-1以下的情況鮮有報道. 本研究以平菇菌糠廢料制成吸附劑,探討菌糠對低濃度廢水中銅離子的吸附特性,利用掃描電鏡-能譜、 傅里葉紅外光譜和X射線衍射對其吸附機制進行初步分析.
1 材料與方法
1.1 吸附劑及銅溶液的制備
平菇菌糠廢料來自哈爾濱香坊木材食用菌廠,將平菇菌糠在80℃烘干至恒重,粉碎,過40目篩,經高壓蒸汽滅菌,置于干燥環境下備用.
銅標準曲線的配制: 將銅標準溶液分別配制成濃度為1、 2、 3、 4和5 mg ·L-1的銅溶液,用原子吸收分光光度計(日本島津)測定后繪制標準曲線,利用該標準曲線校正儀器誤差(其中該儀器的檢測線為≤0.005 μg ·mL-1,精密度為≤1%).
銅離子儲備液:準確稱取0.3775 g Cu(NO3)2 ·3H2O,用去離子水定容于100 mL容量瓶中,配制成1 g ·L-1銅溶液母液,使用時用去離子水稀釋到所需濃度.
1.2 吸附實驗
取一定量菌糠吸附劑,加入裝有稀釋到一定濃度、 體積為100 mL銅溶液的錐形瓶中,于150 r ·min-1、 30℃恒溫搖床中振蕩吸附. 吸附完成后過濾取濾液,用原子吸收分光光度計測定濾液中剩余銅離子濃度(銅離子平衡濃度),每組實驗重復3次,數據取3次結果的平均值,另設對照.
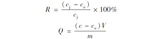
吸附率(R)和吸附容量(Q)的計算公式:

式中,cj表示銅離子初始濃度,mg ·L-1; ce表示銅離子平衡濃度,mg ·L-1; V表示吸附時所用銅離子溶液的體積(本研究統一用100 mL); m表示菌糠投加量,g.
1.3 吸附等溫模型
在菌糠投加量為10 g ·L-1,溶液pH為6,吸附時間為120 min,溫度為30℃,搖床轉速為 150 r ·min-1條件下,調節銅離子初始濃度分別為2、 4、 6、 8、 10、 12 mg ·L-1,測定吸附平衡時濾液中的Cu2+濃度ce.
1.4 吸附機制研究
SEM-EDX:取適量吸附前后的平菇菌糠60℃下烘干,粘到碳導電介質板上鍍金,置于掃描電鏡(美國FEI,QUANTA200型)下室溫掃描,觀察樣品形貌、 照相,并用能譜儀觀察分析樣品表面元素.
FTIR:取吸附前后的菌糠在60℃下烘干并研磨成粉末狀,分別與KBr混勻(比例約為1 ∶100),在瑪瑙研缽中仔細研磨,放入壓片機內壓片,采用傅里葉變換紅外光譜儀(德國Bruker,ALPHA-T)分析.
XRD:取吸附Cu2+前后的菌糠在60℃下烘干,采用XRD儀(日本理學,D/max2200型)分析. 操作條件為:Cu Kα輻射源,2θ掃描區間5°~80°,掃描速率4° ·min-1,步距0.02°,波長0.154 nm,電壓40 kV,電流30 mA.
2 結果與討論
2.1 溶液pH對吸附的影響
銅離子屬于硬金屬離子,其特征是離子半徑小、 極化性低且所帶正電荷量高,易與硬配體(如H2O、 OH-、 Cl-、 PO3-4、 NH3和ROH)配位優先形成離子鍵. 由圖1(a)可知,在溶液初始pH為2時,菌糠吸附率很低,只有50.53%,可能由于低pH時,溶液中大量H+與Cu2+競爭吸附劑表面的吸附位點,降低了吸附率. 在初始pH 3~6之間,吸附率逐漸緩慢上升,初始pH為6時,吸附率達到最大,為74.42%,而10 mg ·L-1銅溶液的原始pH值為6,故實驗中無需再進行pH值的調節. 但當初始pH值過大時,部分Cu2+會以Cu(OH)+、 Cu(OH)2的沉淀形式存在,從而影響了菌糠對Cu2+的吸附效果. 張芝利等[15]以菌糠為吸附劑對銅離子進行吸附,在初始pH為5時吸附率可達75%左右,但其對pH要求較嚴格,pH 3~7間吸附率波動較大,而本實驗中pH為3時的吸附率就已達到最大吸附率的93.3%,說明平菇菌糠對銅離子的吸附pH值的適合范圍較廣.

圖 1單因素對Cu2+吸附效果的影響
2.2 吸附時間對吸附的影響
由圖1(b)可見,菌糠對Cu2+的吸附率隨著吸附時間的增加而增大,0~30 min內吸附率增加較快,30~120 min內吸附率緩慢增加,120 min后吸附率略有下降. 可能是由于開始時溶液中Cu2+濃度高于菌糠表面銅離子的濃度,菌糠表面空白吸附位點較多,故銅離子可與其表面的吸附位點快速結合; 隨著吸附的進行,Cu2+逐漸進入菌糠孔隙中,Cu2+在孔隙中的傳質速度逐漸減慢,固液兩相中銅離子濃度梯度也逐漸減小,故吸附率隨時間緩慢增加直至平衡; 隨著吸附時間的增加和持續的振蕩,可能會出現輕微的解吸現象,但吸附率基本不變. 如圖1(b)在120 min時吸附率達到最大為74.46%,故120 min為吸附平衡時間.
2.3 吸附溫度對吸附的影響
溫度是影響吸附反應過程的重要環境因素之一. 如圖1(c),菌糠對Cu2+的吸附率隨溫度的升高而增大,在溫度30℃達到最大為74.22%. 這是因為在較高的溫度下,菌糠上一些吸附位點被活化,且溫度的提高有利于粒內傳質或化學吸附的發生[16]. 溫度的升高有利于吸附表明該生物吸附是一個吸熱反應過程[17],溫度升高平衡向吸熱的方向移動. 但是在實際生產中,溫度越高,能耗越大,且就黑龍江地區溫度情況,選30℃為最佳吸附溫度.
2.4 初始濃度對吸附的影響
在溶液體積和投加量不變的情況下,溶液初始濃度也是影響吸附率的重要因素之一. 如圖1(d)所示,隨著Cu2+濃度的增加,菌糠吸附率逐漸增大,當濃度為8 mg ·L-1時達到最大值為74.16%,之后吸附率開始下降. 一般認為,重金屬離子的吸附過程與重金屬離子濃度和吸附劑投加量的比值有關. 在一定范圍內,重金屬離子濃度與吸附劑投加量的比值越大,吸附率就越大,直到達到飽和,如繼續增加重金屬離子濃度,表面位點被充分占滿的吸附劑已不能再吸附過多重金屬離子,故吸附率逐漸下降[18]. 因此,根據實驗結果選擇Cu2+的濃度為8 mg ·L-1. 郭學益等[19]報道利用改性柿子為吸附劑吸附銅離子,當銅離子初始濃度為50 mg ·L-1時,吸附率可達90%,而本實驗中銅離子初始濃度僅為8 mg ·L-1,且未經改性,故吸附容量也相應降低,但已基本達到國家污水排放三級標準的要求.
2.5 吸附等溫模型
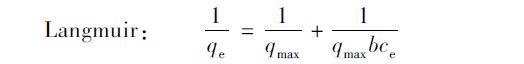
將吸附平衡所得數據分別用Langmuir方程和Freundlich進行擬合,吸附模型線性表達式如下.
式中,qe為銅離子平衡吸附容量,mg ·g-1; qmax為理論飽和吸附容量,mg ·mg-1; ce為吸附平衡時溶液中銅離子濃度,mg ·L-1; b為Langmuir方程吸附平衡常數,L ·mg-1; k、 n均為Freundlich經驗常數.
由圖 2和圖 3的吸附等溫線可見,平菇菌糠對銅離子吸附容量qe與平衡濃度ce的雙倒數和平菇菌糠對銅離子吸附容量qe與平衡濃度ce的雙對數均具有線性關系,且擬合結果都很好. Langmuir方程是假設吸附劑表面均勻,各處的吸附能相同; 吸附是單分子層的,當吸附劑表面的吸附質飽和時,其吸附量達到最大值; 在吸附劑表面上吸附的吸附質之間沒有相互作用; 達到動態平衡時,吸附和脫附的速度一樣. 而 Freundlich吸附模型適用于對中等濃度范圍內的吸附現象的描述,對于過低或過高濃度吸附質則不符合實際吸附現象[20]. Chia等[21]也報道,血紅栓菌、 魯氏毛霉等吸附水溶液中鎘離子的吸附等溫線更符合 Langmuir方程,其吸附過程主要為吸附劑表面單層的化學吸附. 從圖 2和圖 3中也可以看出用 Langmuir方程擬合的效果更好,其線性相關系數R2為0.9949. 根據圖 2可以算出 Langmuir方程的參數值: qmax=0.8114 mg ·g-1,b=3.953 L ·mg-1.

圖 2Langmuir吸附等溫模型

圖 3Freundlich吸附等溫模型
由Langmuir吸附等溫方程還可以定義一個無量綱的分離因子RL,其表達式為:
分離因子RL可用于表示吸附過程的性質,當 01,為非優惠吸附; 當RL=1,為可逆吸附; 當RL=0,為非可逆吸附[22].
而本研究中 b和cj均大于零,可以得到該吸附過程的特征分離因子一定在 0
2.6 吸附機制
2.6.1 掃描電鏡分析(SEM)
對吸附前后菌糠進行SEM掃描觀察發現,菌糠主要由木屑和菌絲體構成,而木屑主要由纖維素、 半纖維素和木質素交聯聚合而成,此外還含有少量灰分和木材抽提物[23],其中纖維素和半纖維素是由大量長短不一的纖維微纖絲連接而成,而微纖絲又是由許多毫微纖絲組成,這些纖維絲之間存在諸多微小空隙,通過水溶液中的振蕩,更多的木質片層碎片、 內部填充物溶出,這些都進一步增加了菌糠的吸附表面積. 從圖4(a)可以看出吸附前,菌糠表面比較粗糙、 質地相對緊密,且具有許多微觀孔洞、 溝壑和褶皺,表面還附著一定量的菌絲,這些都表明菌糠具有很大的吸附表面積. 圖4(b)為菌糠吸附銅離子后的微觀表面結構,吸附作用的發生及外部環境的突然改變大大地影響了吸附劑的外觀形態,經水浸泡、 搖床振動后的菌糠內部層次更加鮮明,結構更加松散,暴露出更多吸附位點[24],且0.072 nm的銅離子半徑使得它們更易于進入吸附劑微孔內[25],更加有利于菌糠表面活性基團與溶液中金屬離子接觸.

圖 4平菇菌糠吸附前后的掃描電鏡圖Fig.4SEM of native and adsorbed spent substrate of pleurotus oyster
2.6.2 能量色散X射線光譜分析(EDX)
一般來說,吸附劑對金屬離子的吸附應同時存在物理吸附和化學吸附,物理吸附包括范德華力和靜電作用等,化學吸附包括離子交換、 表面絡合等[5]. 比較圖5可以看出,在菌糠吸附銅離子后,多種元素質量比都發生一定的改變,圖5(b)中出現了微小的銅峰. 由單因素也可知,在吸附開始時,吸附率上升很快,這可能主要發生物理吸附; 而后吸附率上升緩慢趨于平衡,這可能是銅離子與木屑及菌絲體表面基團通過化學鍵結合,發生化學吸附.

圖 5平菇菌糠吸附前后的X射線能譜圖
由表1可以看出,菌糠吸附劑主要由 C、 O、 N和少量的Ca、 P以及微量的Na、 Mg、 Al、 Si組成. 其中 C、 O、 N為生物生長的大量元素,故比重較大; 平菇在栽培過程中加入過磷酸鈣既可以消毒殺菌還可促進生長,所以菌糠成分中含有一定量的 Ca、 P; Cu和 Cl為食用菌生長所需微量元素,比重極小,故未檢出; Na、 Mg、 Al、 Si也屬于食用菌菌生長必要的礦質元素(EDX檢測前吸附劑表面噴金,檢測時沒有計算金含量).

表1 菌糠吸附前和吸附后的X射線能譜分析 1)/%
菌糠吸附銅離子之后,菌糠元素成分中出現了少量的銅,初步說明有銅元素附著在吸附劑上. Na、 Mg、 Ca元素都有不同程度的減少,可能在吸附過程中發生離子交換反應,Ngah等[26]也報道過,離子交換是銅離子吸附的機制之一,且 Ca元素減少比例較大,而銅離子又是二價金屬陽離子,故更易與鈣離子發生離子交換[21]; 其中 N、 P也有不同程度減少,初步認為菌糠中的酰胺基、 氨基等基團可能與銅離子發生了表面絡合配位反應.
2.6.3 傅里葉紅外光譜分析(FTIR)
對吸附Cu2+前后平菇菌糠進行FTIR測定,利用OMNIC 8.0紅外光譜處理軟件進行分析,結果如圖6.

圖 6平菇菌糠吸附前后的紅外光譜圖
圖6分別為吸附Cu2+前后的平菇菌糠的紅外光譜圖. 由于每一個官能團都有其特有的吸收峰[30],由該紅外光譜圖中含有較多吸收峰可知,菌糠吸附劑表面有大量且復雜的官能團. 通過吸附前后平菇菌糠紅外光譜圖的比較,可以判斷其表面官能團的變化.
紅外吸收峰所對應官能團的一般波數范圍已列于表2中,其中3200~3750 cm-1范圍內為—OH和—NH鍵的交叉伸縮振動峰[30,31]. 本實驗中吸附后平菇菌糠紅外吸收峰由3435.70 cm-1移動到3437.96 cm-1,可能是基于—NH或者—OH鍵的伸縮振動作用,由于平菇菌糠主要由平菇菌絲體和木屑組成,故其中含有多種不同的生物聚合物,如真菌細胞壁中的殼聚糖、 多磷酸鹽、 脂質和蛋白質等[32],以及木屑中的纖維素、 半纖維素和木質素等[33],Alka等[34]報道過木屑中的這些物質都是易于發生離子交換反應的復合物. 由于該吸附劑成分的復雜性,不能夠準確判斷該處起作用的官能團,Chen等[35]也報道過,吸附劑表面絡合物的形成可能對—OH的吸收峰產生影響; 吸附后2923.42 cm-1處的吸收峰移動到2922.54 cm-1,Zhang等[36]曾報道,隨著吸附劑制備時溫度的提高,此處—CH2基團中C—H鍵的吸收峰會發生一定位移,但本研究中菌糠吸附劑制備時溫度僅為60℃,故該位移很小,可忽略不計; 在2360.21 cm-1處出現了新的吸收峰,可能為多酚上的氨基或有機直鏈的累積[37],表明在吸附銅離子后的吸附劑表面新增加的這個基團極有可能參與了銅離子的成鍵; 1626.42 cm-1和1165.51 cm-1處吸收峰經吸附后分別移動到1630.01 cm-1和1164.44 cm cm-1,表明銅離子可能與酰胺中氨基、 羧基以及木質素上的酚羥基發生了化學反應,它們參與了銅離子的成鍵過程[33,38]; 而吸附后的平菇菌糠吸收峰由1085.23 cm-1移動到1083.23 cm-1處的強吸收峰,可能是木質素上或纖維素中β(1~4)糖苷鍵上C—O的伸縮振動,也可能是酰胺基團中—CN的伸縮振動[18,39]; 此外,吸附后465.51 cm-1處吸收峰移動到了468.41 cm-1處,范春輝等[40]推測該處為O—Si—O鍵的彎曲振動,可能存在SiO2,Zhang等[36]也得出了類似結論.

表2 平菇菌糠紅外吸收帶的一般官能團 [27, 28, 29]
以上分析可得,吸附劑表面含有大量的羧基和羥基,它們都可以作為質子供體,因此去質子化的羧基和羥基可能與銅離子發生了配位反應[41]. 此外,Ma等[42]報道過水溶液中的Cu2+非常易于與有機質上的多種官能團形成絡合物,上述紅外光譜的分析中指出,平菇菌糠上的氨基和硅酸鹽的吸收峰也發生一定變化,可能是與銅離子反應形成了復雜的表面絡合物. 以上這些反應改變了菌糠表面官能團的化學環境,使得菌糠的紅外吸收峰發生位移. 由此可知,羧基、 羥基、 氨基以及二氧化硅在銅離子吸附的過程中起著關鍵作用[43].
2.6.4 X射線衍射分析(XRD)
圖 7為吸附Cu2+前后的平菇菌糠的XRD圖譜,從中可以看出,在2θ約15.9°和21.96°處分別有一個次峰和主峰,是典型的纖維素衍射圖譜,其中次峰表示具有較低有序度的多糖結構,而主峰表示有序度高的纖維素晶體結構. 平菇菌糠吸附銅離子后的XRD峰形整體變化不大,分別又在26°、 32°、 43° 等多處出現衍射峰,其中2θ在26°左右是SiO2的主要衍射峰,暴露明顯的SiO2活性位點和骨架使得菌糠成為一種理想的吸附劑,吸附后菌糠的EDX也可以看到Si較吸附前有所增加. 吸附后,不僅主峰和次峰高度都明顯增加,而且30°~50°較大的衍射峰范圍說明有玻璃體存在,菌糠與銅離子形成了具有晶體結構的金屬化合物. 吸附前的能譜圖7(a)上沒有出現含銅離子化合物的吸收峰,對照JCPDS PDF卡片上也沒有銅元素; 而吸附后能譜圖7(b)中2θ在25°~70°測試范圍內有許多尖銳的衍射峰,由MDI Jade5.0軟件檢索分析,對照JCPDS PDF Card No.420663,也發現吸附前后均出現了SiO2. 在較大量物質區間中查到,吸附后的菌糠上主要在2θ為14°左右增加了Cu(NH3)2(N3)2、 2θ在23°左右增加了Cu(NH3)3NO3; 在較小量物質區間中查到,2θ在43°左右增加了CuO,由于其衍射峰相對較少,可忽略不計. 說明Cu2+主要與平菇菌糠中氨基發生了絡合反應.具體參見 污水處理技術資料或污水技術資料更多相關技術文檔。

圖 7菌糠吸附Cu2+前后的X射線衍射圖
(1)平菇菌糠吸附Cu2+的單因素最佳吸附條件為:菌糠濃度10 g ·L-1,溶液 pH 6,吸附時間 120 min,吸附溫度30℃,溶液初始濃度 8 mg ·L-1,吸附率 74.46%,吸附后水中 Cu2+基本達到國家污水排放三級標準.
(2)Langmuir等溫線很好地描述了平菇菌糠吸附Cu2+的過程. 通過SEM觀察到菌糠表面有許多不規則突起、 空隙,具有較大的吸附表面積,木屑中的纖維素、 半纖維素和木質素以及菌絲體同時對Cu2+有吸附作用; 由EDX中各元素含量的改變可推測,菌糠吸附銅離子的過程中可能發生了離子交換等化學反應; 由FTIR可知羥基、 羧基和氨基在吸附過程中起主要作用,且吸附過程主要發生了配位和絡合反應; 通過XRD可知銅離子主要以Cu(NH3)2(N3)2、 Cu(NH3)3NO3等形式結合到菌糠上.
(3)平菇菌糠不需要經過任何化學處理,對Cu2+即有較強吸附性. 該農業廢棄物,可以作為一種去除水體重金屬的新型生物吸附劑,從而達到“以廢治廢”的目的,具有較大的開發潛力和較高的應用價值.
