城鎮污水處理廠污泥是有機廢水在生化處理過程中產生的二次污染物,其成分復雜污染物種類繁多; 而又因其有機物含量較高,且含有較多的氮磷等營養元素,也被認為是一種不可多得資源[1]. 污泥的資源化一直以來都是國內外學者研究的焦點. 污泥資源化的技術手段主要有厭氧消化、 生物燃料電池、 焚燒、 熱解、 超臨界水氧化和濕式氧化等[2]. 水熱液化技術本質上屬于熱解的一種,指在高溫高壓溶劑水存在的惰性氣氛下將有機物質轉變為液體燃料的過程. 該技術不受污泥高含水率的影響,液化所得的生物油熱值高,且可從中提取苯、 甲苯和二甲苯等高附加值的化學品[3].
Lee等[4]在20世紀80年代率先將該技術應用于污泥的資源化研究. 目前為止,各國學者已對污泥液化操作條件進行了全面系統的研究[5, 6, 7, 8, 9, 10],并探索了不同溶劑,不同催化劑以及不同生物質共液化對生物油產量的影響[11, 12, 13, 14, 15]. 也有學者研究了磷及重金屬在液化過程中的遷移轉化規律[16, 17]. 但是鮮見針對氮元素研究的報道. 污泥水熱液化生物油中氮元素含量通常在3%~6%之間[7, 10, 12],而原油的含氮量僅為0.05%~0.5%[18]. 高含氮量不僅降低了生物油的熱值,而且在生物油燃燒過程中產生較多的氮氧化物,造成二次污染. 除此之外,高含氮量也限制了生物油的加工改質,易造成改質催化劑的中毒[19]. 因此,如何降低生物油中氮元素的含量是污泥水熱液化技術發展過程中必須解決的問題.
高溫高壓水熱液化過程中,水不僅是一種有效的溶劑,而且對有機物的液化反應具有一定的催化作用[20]. 本研究主要探討了不同操作條件下,污泥亞臨界水熱液化水相產物中氮元素的主要存在形態和變化規律,以期為明確氮元素在液化過程中的遷移轉化規律以及后續降低生物質油中氮元素含量的研究提供數據與理論基礎.
1 材料與方法
1.1 材料
本研究所用原始污泥取自北京市某污水處理廠,為二沉池脫水污泥,污泥含水率約為81.5%,總有機質含量為60.5%,元素分析結果見表 1. 該污泥經105℃烘干24 h后,破碎,過100目篩,并于4℃條件下密封儲藏,備用.

表 1 污泥樣品的性質 1)
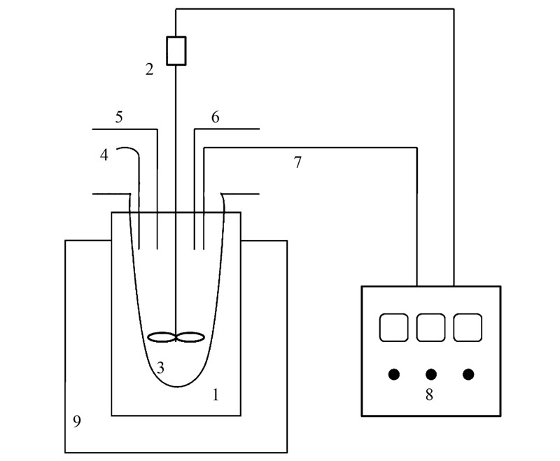
1.2 裝置
高溫高壓反應釜,有效容積1.8 L,最高操作溫度450℃,最高操作壓力為35 MPa,磁力攪拌槳轉速為0~1 000 r ·min-1,其示意圖見圖 1.

1.反應釜體; 2.磁力攪拌裝置; 3.冷卻水管; 4.取樣口; 5.排氣口; 6.進氣口; 7.電熱偶; 8.顯示器及控制裝置; 9.電爐圖 1 水熱液化試驗所用裝置示意
1.3 操作流程
為模擬原始污泥含水率,試驗每次取120 g污泥粉,加480 mL去離子水,事先攪拌混勻后加入反應釜內. 向反應釜內通入N2氣檢驗裝置氣密性并排除釜內空氣,但并不向反應系統提供初始壓力. 設置反應溫度,加熱,并開啟磁力攪拌裝置. 待溫度到達設定溫度后開始計時,保持一定的停留時間,該時間即是污泥液化的反應時間. 反應結束待釜溫降到室溫后分別用400 mL清水及500 mL CH2Cl2對反應釜內壁、 冷卻水管及磁力攪拌槳進行清洗,最后進行產物的萃取及分離. 具體操作流程見圖 2. 本試驗共設置了5個反應溫度,即240、 260、 280、 300、 320℃,每個溫度點下的反應停留時間分別為:0、 20、 40、 60、 80 min.

圖 2 污泥水熱液化操作流程
1.4 分析方法
污泥含水率及有機質含量采用標準CJ/T 221-2005中規定的方法測定,污泥元素含量采用元素分析儀測定. 液化所得水相產物中ρ(TN)用過硫酸鉀氧化紫外分光光度法測定; ρ(NO-2-N)用N-(1-萘基)-乙二胺光度法測定; ρ(NH4+-N)用水楊酸-次氯酸鹽光度法測定. ρ(NO3--N)用離子選擇性電極法進行測定[21]. 水相產物中的ρ(Org-N)采用差量法計算,等于總氮濃度減去無機氮濃度. 2 結果與討論 2.1 水相產物總量的變化情況
按圖 2所示流程,在不同操作條件下得到的水相產物總量見表 2.由于所有試驗初始用水量均為480 mL,清洗用水量為400 mL,因此導致水相產物總質量變化的原因主要有化學反應和相關誤差等. 其中,液化反應包括一系列的復雜反應,如水解反應,裂解反應,聚合反應以及異構化反應等[22]. 不同反應條件下,反應產生的水量(或消耗的水量)以及產生的水溶性物質的種類與質量都會有所不同. 然而,從表 3可知,相同溫度不同反應時間以及相同時間不同反應溫度的水相產物產量的標準偏差(σ)并不大. 因此,在下文的討論中以水相產物中各類含氮物質的質量濃度為標準,討論氮元素在液化過程中的變化規律.

表 2 不同操作條件下所得水相產物的總量

表 3 不同操作條件下水相產物總產量變化的標準偏差
2.2 水相產物中總氮的變化情況
水中總氮(TN)通常包括有機氮(Org-N)及無機氮,無機氮又包括氨氮(NH4+-N)、 硝態氮(NO3--N)和亞硝態氮(NO-2-N). 試驗測得了不同液化操作條件下,水相產物中總氮的變化情況,如圖 3所示. 相同反應時間下,隨著反應溫度的升高,水相產物中ρ(TN)不斷降低. 當反應停留時間為60 min時,240℃液化所得水相產物中ρ(TN)從3 806.12 mg ·L-1,降到了320℃時的3 417.59 mg ·L-1.

圖 3 水相產物中ρ(TN)的變化情況
污泥中的有機物質主要是微生物的殘體,污泥中氮的存在形態主要是蛋白質氮,其次是吡啶氮[23]. 蛋白質在高溫高壓水中首先水解為氨基酸,隨后氨基酸進一步分解為乙酸、 丙酸、 丁酸、 異丁酸以及氨基乙醇和氨等含氮類物質[24]. 另外,蛋白質和氨基酸的水解反應是一個吸熱過程,隨著反應溫度的升高,水解程度及水解速率不斷加強. 因此,水相產物中ρ(TN)隨溫度升高而降低可能是因為隨著反應溫度的升高,蛋白質和氨基酸分解程度較強,蛋白質中的氮主要以氨氣(NH3)的形式從水中逸出.
從圖 3中也不難看出,相同反應溫度下,隨著反映停留時間的延長,水相產物中ρ(TN)不斷增加. 以反應溫度為280℃為例,當反應時間由0 min延長至80 min時,水相產物中ρ(TN)由3 126.85 mg ·L-1增加到了3 662.04 mg ·L-1. 除了蛋白質水解為氨基酸外,這也可能是因為吡啶衍生物隨著反應時間的延長不斷水解生成吡啶及易溶于水的小分子吡啶衍生物. 另外,污泥中的糖類等物質也發生水解反應,隨著反應時間的延長,糖類水解以及氨基酸水解的產物會發生Maillard反應,生成可能溶于水的含氮雜環化合物[25]. 需要明確的是,由于蛋白質氮是污泥中氮元素的主要存在形態,因此蛋白質的水解及氨基酸的進一步轉化是水相產物中總氮隨時間延長而增加的主要原因.
2.3 水相產物中氨氮的變化情況
考慮到吡啶氧化開環的穩定性較強[26],認為污泥水熱液化水相產物中氨氮主要是通過氨基酸的脫氨基作用產生,而氨基酸則來自于蛋白質的水解. 相關研究表明,由于蛋白質中的肽鍵比較穩定,其在溫度低于230℃的水中水解緩慢[27,28]. 這也就說明了當反應時間小于20 min時,為什么圖 4中會出現水相產物中ρ(NH4+-N)隨反應溫度的升高而增加的現象. 不過當溫度≥280℃,反應時間≥40 min時,ρ(NH4+-N)并沒有隨溫度的變化而呈現出明顯的規律. 隨著反應時間的延長,ρ(NH4+-N)沒有顯著的變化,這說明相關反應近似達到了平衡.

圖 4 水相產物中ρ(NH4+-N)的變化情況
值得注意的是,當反應溫度為240℃時,ρ(NH4+-N)并沒有發生明顯變化. 在0~80 min的反應時間內,ρ(NH4+-N)僅在2 266.45~2 285.36 mg ·L-1之間波動. 結合圖 3中反應溫度為240℃時,ρ(TN)隨反應時間延長而不斷增大的現象可知,該溫度下氨基酸的脫氨基反應速率小于蛋白質的水解速率. 這也驗證了Rogalinski等[24]的相關研究,即當溫度小于250℃時,氨基酸的分解速率小于蛋白質的水解速率.
2.4 水相產物中亞硝態氮及硝態氮的變化情況
N-(1-萘基)-乙二胺光度法是實驗室中常用的測定水中亞硝態氮的方法,其檢測下限為0.003 mg ·L-1. 然而,本試驗水相產物中的亞硝態氮的濃度低于檢出限. 相同的現象也見于微藻的水熱液化研究中,Alba等[29]發現鏈帶藻(Desmodesmussp)在300℃的水中反應5 min后,水相中亞硝態氮的濃度低于檢出限. 考慮到NO-2不穩定,具有一定的還原性,本試驗中ρ(NO-2-N)低于檢出限的原因可能是在污泥烘干預處理過程中將其中可能存在的少量NO-2-N氧化為了NO3--N.
水相產物中ρ(NO3--N)隨液化條件變化而變化的情況如圖 5所示. ρ(NO3--N)在35~65 mg ·L-1之間變化,遠遠小于ρ(TN)和ρ(NH4+-N),說明硝態氮對污泥液化過程中氮元素的遷移轉化規律影響不大. 然而,從圖 5中可以看到,所有反應溫度下,ρ(NO3--N)在反應時間從60 min延長到80 min時都有一個明顯減小的過程. 反應溫度為240℃時,ρ(NO3--N)從60 min的55.51 mg ·L-1降到了80 min的39.29 mg ·L-1. 除此之外,溫度≥280℃的情況下,ρ(NO3--N)降低的拐點發生在20 min,早于240℃及260℃的60 min. 這可能是由于在這段反應時間內,硝酸鹽類物質從水中析出并吸附到固相產物中的原因,并且溫度越高這種現象發生的越早. 因為當水接近臨界狀態或處在超臨界狀態時,水的介電常數不斷減小,鹽類物質的溶解度降低,并有可能從水中析出并吸附于其他載體上[30].

圖 5 水相產物中ρ(NO3--N)的變化情況
2.5 水相產物中有機氮的變化情況
水相產物中有機氮(Org-N)的濃度是由總氮濃度減去無機氮濃度計算所得. 由于ρ(NO-2-N)低于檢出限,并且ρ(NO3--N)較小,因此計算所得的ρ(Org-N)主要由ρ(TN)及ρ(NH4+-N)決定.
從圖 6可以看出,在相同反應時間下,水相產物中ρ(Org-N)隨溫度升高而降低; 在相同反應溫度下,ρ(Org-N)隨反應時間延長而增加. 與2.2與2.3節中的相關解釋類似,隨著反應溫度的升高,水中氨基酸的分解速率高于蛋白質的水解速率,氮以NH4+-N的形式逐漸增加,因此隨溫度升高,ρ(Org-N)不斷減少. 另外,隨著反應時間的延長,吡啶衍生物逐漸水解生成吡啶及溶于水的吡啶衍生物,從而使ρ(Org-N)不斷增加. 此外,2.2節中提到的Maillard反應[25]也可使液相產物中ρ(Org-N)增加.

圖 6 水相產物中ρ(Org-N)的變化情況
2.6 各類含氮物質所占百分比的變化情況
不同液化條件下各類含氮物質濃度占ρ(TN)的百分比(質量分數)變化情況可由圖 7反映. 盡管ρ(TN)以及各種形態的氮濃度隨反應溫度及反應時間的變化而變化,但從圖 7可以看出,NH4+-N在各種操作條件下都是水相產物中氮的主要存在形態,其濃度占ρ(TN)的54.6%~90.7%. 其次是Org-N,其濃度占ρ(TN)的7.4%~44.5%. 因此,在后續降低生物油中氮元素含量的研究中應著重研究水相產物中NH4+-N及Org-N的作用.

圖中(a)~(e)分別指反應時間為0、 20、 40、 60、 80 min 的情況
相同反應時間下,NH4+-N所占百分比均隨反應溫度升高而增加,Org-N所占百分比則隨溫度升高而減小. 這是因為隨著溫度的升高ρ(NH4+-N)增加而ρ(Org-N)減小. 結合圖 4及圖 6可知,隨反應時間的延長,ρ(NH4+-N)和ρ(Org-N)整體都呈增加的趨勢,其中ρ(NH4+-N)的增加主要發生在前40 min. 但從圖 7中還可以看出,相同反應溫度下,隨著反應時間的延長,NH4+-N所占百分比減少,而Org-N所占百分比增加. 這說明相同反應溫度下,在研究的時間范圍內,NH4+-N生成的平均反應速率小于Org-N的平均生成速率.具體參見 污水處理技術資料或污水技術資料更多相關技術文檔。
3 結論
(1)污泥亞臨界水熱液化水相產物中的氮元素主要以NH4+-N和Org-N的形式存在.
(2)反應溫度及反應時間都對水相產物中氮元素的變化規律具有影響. 反應溫度對氮元素的變化影響程度更大. 隨著液化反應溫度的升高,ρ(TN)和ρ(Org-N)不斷降低,在前20 min,ρ(NH4+-N)隨溫度升高而升高,隨后則沒有明顯規律. 相同反應溫度下,隨著反應時間的延長,ρ(TN)及ρ(Org-N)不斷增加; ρ(NH4+-N)則呈現出先增加后平穩,再些許降低的趨勢. 在反應溫度為240℃時,ρ(TN)隨反應時間延長而不斷增加并不是因為ρ(NH4+-N)的變化,而主要是因為ρ(Org-N)的增加.
(3)在研究的反應時間范圍內,NH4+-N的平均生成速率小于Org-N的平均生成速率.(來源及作者:中國人民大學環境學院 孫衍卿、孫震、張景來)
